Product list产品列表
Customer service在线客服
产品展示
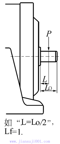
八、许用径向力
若摆线减速机与齿轮、链轮或皮带轮联接,请在径向力许用值范围内使用,若径向力超出许用值,可和更大一号机型,或向我厂咨询。
计算公式:
P= ≤ (N)
P:实际需用径力(N)
T:输出轴上实际传递转矩(N.m)
R:链轮、齿轮及皮带轮等节圆半径(m)
Px:许用径向力(N)
Lf:负载作用系数
Cf:联接系数(表八)
Fs:冲击系数(表九)
联接系数 表八
|
联系方式 |
Cf |
|
链轮 |
1 |
|
齿轮 |
1.25 |
|
V型皮带 |
1.5 |
联接系数(Fs) 表九
|
冲击程度 |
Fs |
|
无冲击 |
1 |
|
轻冲击 |
1~1.2 |
|
重冲击 |
1.4~1.6 |
输出轴许用径向力Px(N)
|
型号 |
输出转速(r/min) | |||||||||
|
-1 |
2 |
3 |
4 |
5 |
6 |
8 |
10 |
15 |
20 | |
|
9075 |
1140 |
1140 |
1140 |
1140 |
1140 |
1140 |
1140 |
1140 |
1140 |
1140 |
|
9085 | ||||||||||
|
9095 |
3200 |
3200 |
3200 |
3200 |
3200 |
3200 |
3200 |
3200 |
3200 |
3200 |
|
9105 |
5300 |
5300 |
5300 |
5300 |
5300 |
5300 |
5300 |
5300 |
5300 |
5300 |
|
9115 |
9240 |
9240 |
9240 |
9240 |
9240 |
9240 |
9240 |
9240 |
9240 |
9240 |
|
9125 | ||||||||||
|
9130 |
15690 |
15690 |
15690 |
15690 |
15690 |
15690 |
15690 |
15690 |
15690 |
15690 |
|
1935 | ||||||||||
|
9145 | ||||||||||
|
9155 | ||||||||||
|
9160 |
19200 |
19200 |
19200 |
19200 |
19200 |
19200 |
19200 |
19200 |
19200 |
19200 |
|
9165 | ||||||||||
|
9170 |
27400 |
27400 |
27400 |
27400 |
27400 |
27400 |
27400 |
27400 |
27400 |
24900 |
|
9175 | ||||||||||
|
9180 |
37200 |
37200 |
37200 |
37200 |
37200 |
37200 |
37200 |
37200 |
37200 |
33700 |
|
9185 | ||||||||||
|
9190 |
51900 |
51900 |
51900 |
51900 |
51900 |
51900 |
51900 |
51900 |
51900 |
47400 |
|
9195 | ||||||||||
|
9205 |
69000 |
69000 |
69000 |
69000 |
69000 |
69000 |
69000 |
69000 |
69000 |
59700 |
|
9215 |
86000 |
86000 |
86000 |
86000 |
86000 |
86000 |
86000 |
86000 |
86000 |
76000 |
|
9225 |
14500 |
14500 |
14100 |
130300 |
122000 |
11500 |
10600 |
99000 |
87000 |
80000 |
|
9235 |
17800 |
17800 |
176400 |
161700 |
15090 |
143000 |
131300 |
122500 |
18100 |
100000 |
|
9245 |
208000 |
208000 |
196000 |
180000 |
168000 |
160000 |
146000 |
137000 |
122000 |
110000 |
|
9255 |
257000 |
257000 |
240100 |
220500 |
206000 |
195000 |
179000 |
167000 |
148000 |
136000 |
|
9265 |
27500 |
275000 |
275000 |
269000 |
251000 |
238000 |
219000 |
205000 |
180000 |
166000 |
|
9275 |
196000 |
196000 |
196000 |
196000 |
196000 |
196000 |
196000 |
196000 |
196000 |
196000 |
|
型号 |
输出转速(r/min) | ||||||||||||
|
25 |
30 |
35 |
40 |
50 |
60 |
80 |
100 |
125 |
150 |
200 |
250 |
300 | |
|
9075 |
1140 |
1140 |
1140 |
1140 |
1140 |
1070 |
980 |
910 |
840 |
790 |
720 |
- |
- |
|
9085 | |||||||||||||
|
9095 |
3200 |
3200 |
3200 |
3050 |
2950 |
3010 |
2910 |
2700 |
2510 |
2360 |
2140 |
2000 |
1880 |
|
9105 |
5300 |
5300 |
5300 |
5300 |
5300 |
5300 |
4820 |
4480 |
4150 |
3920 |
3560 |
3310 |
3140 |
|
9115 |
9240 |
9240 |
9240 |
9240 |
9240 |
8070 |
7330 |
6810 |
6320 |
5960 |
5420 |
5030 |
4720 |
|
9125 | |||||||||||||
|
9130 |
15690 |
15690 |
15690 |
14990 |
13930 |
13120 |
11944 |
11080 |
10290 |
9690 |
8910 |
8190 |
7710 |
|
1935 | |||||||||||||
|
9145 | |||||||||||||
|
9155 | |||||||||||||
|
9160 |
19200 |
18000 |
17100 |
16400 |
15200 |
14300 |
13000 |
12100 |
11200 |
10600 |
9600 |
8900 |
8400 |
|
9165 | |||||||||||||
|
9170 |
23100 |
21700 |
20700 |
19800 |
18400 |
7300 |
15700 |
14600 |
13600 |
12800 |
11600 |
10800 |
10100 |
|
9175 | |||||||||||||
|
9180 |
31300 |
29500 |
28000 |
26800 |
24900 |
23500 |
21300 |
19800 |
18400 |
17300 |
15800 |
- |
- |
|
9185 |
- |
- | |||||||||||
|
9190 |
44000 |
41400 |
39400 |
37700 |
35000 |
32900 |
30000 |
27800 |
25800 |
24200 |
22100 |
- |
- |
|
9195 |
- |
- | |||||||||||
|
9205 |
55900 |
52900 |
50500 |
48500 |
45400 |
43000 |
39500 |
35800 |
34400 |
32600 |
29900 |
- |
- |
|
9215 |
71100 |
67400 |
64300 |
61700 |
57800 |
54800 |
50300 |
46900 |
43900 |
41500 |
38100 |
- |
- |
|
9225 |
74800 |
71000 |
67600 |
65100 |
61000 |
58000 |
528000 |
49400 |
46000 |
43700 |
40200 |
- |
- |
|
9235 |
93000 |
88200 |
84300 |
81000 |
75700 |
71600 |
65800 |
61500 |
57400 |
- |
- |
- |
- |
|
9245 |
104000 |
98000 |
94000 |
90000 |
84400 |
79900 |
73300 |
68500 |
64000 |
- |
- |
- |
- |
|
9255 |
127000 |
121000 |
114700 |
110700 |
102900 |
97600 |
89600 |
83800 |
78400 |
- |
- |
- |
- |
|
9265 |
155000 |
147000 |
140000 |
135000 |
126000 |
120000 |
110000 |
102000 |
96000 |
- |
- |
- |
- |
|
9275 |
196000 |
196000 |
196000 |
196000 |
196000 |
- |
- |
- |
- |
- |
- |
- |
- |
注:双级参考所配低速端型号值
输出轴径向力人用位置系数Lf
|
L
机型号 |
5 |
10 |
15 |
20 |
25 |
30 |
35 |
40 |
45 |
50 |
60 |
70 |
80 |
90 |
100 |
120 |
140 |
160 |
180 |
200 |
225 |
250 |
275 |
300 |
|
9075 |
0.83 |
0.94 |
1.19 |
1.56 |
- |
- |
- |
- |
- |
- |
- |
- |
- |
- |
- |
- |
- |
- |
![]() | |||||
|
9085 |
0.82 |
0.91 |
1.00 |
1.29 |
1.59 |
1.88 |
- |
- |
- |
- |
- |
- |
- |
- |
- |
- |
- |
- | ||||||
|
9095 |
0.86 |
0.92 |
0.97 |
1.13 |
1.38 |
1.64 |
1.90 |
- |
- |
- |
- |
- |
- |
- |
- |
- |
- |
- | ||||||
|
9105 |
0.86 |
092 |
0.97 |
1.13 |
1.38 |
1.64 |
1.90 |
- |
- |
- |
- |
- |
- |
- |
- |
- |
- |
- | ||||||
|
9115
9125 |
- |
0.82 |
0.87 |
0.92 |
0.97 |
1.08 |
1.25 |
1.42 |
1.59 |
1.76 |
- |
- |
- |
- |
- |
- |
- |
- | ||||||
|
9130
9135 |
- |
- |
0.83 |
0.87 |
0.92 |
0.96 |
1.00 |
1.13 |
1.25 |
1.38 |
1.63 |
1.88 |
- |
- |
- |
- |
- |
- | ||||||
|
9145
9155 |
- |
- |
- |
0.66 |
0.73 |
0.80 |
0.87 |
0.93 |
1.00 |
1.10 |
1.30 |
1.50 |
1.70 |
1.90 |
- |
- |
- |
- | ||||||
|
9160
9165 |
- |
- |
- |
0.83 |
0.87 |
0.90 |
0.93 |
0.97 |
1.00 |
1.11 |
1.32 |
1.53 |
1.75 |
1.96 |
- |
- |
- |
- | ||||||
|
9170
9175 |
- |
- |
- |
0.86 |
0.89 |
0.92 |
0.94 |
0.97 |
1.00 |
1.11 |
1.32 |
1.53 |
1.75 |
1.96 |
- |
- |
- |
- | ||||||
|
9180
9185 |
- |
- |
- |
- |
0.85 |
0.87 |
0.90 |
0.93 |
0.95 |
0.98 |
1.09 |
1.26 |
1.43 |
1.60 |
1.78 |
- |
- |
- |
- |
- |
- |
- |
- |
- |
|
9190
9195 |
- |
- |
- |
- |
- |
0.85 |
0.87 |
0.89 |
0.91 |
0.93 |
0.97 |
1.04 |
1.18 |
1.32 |
1.46 |
1.75 |
- |
- |
- |
- |
- |
- |
- |
- |
|
9205 |
- |
- |
- |
- |
- |
- |
- |
0.70 |
0.74 |
0.77 |
0.84 |
0.91 |
0.98 |
1.05 |
1.12 |
1.26 |
1.40 |
1.54 |
- |
- |
- |
- |
- |
- |
|
9215 |
- |
- |
- |
- |
- |
- |
- |
0.70 |
0.73 |
0.77 |
0.84 |
0.91 |
0.98 |
1.05 |
1.13 |
1.27 |
1.41 |
1.56 |
- |
- |
- |
- |
- |
- |
|
9225 |
- |
- |
- |
- |
- |
- |
- |
0.86 |
0.88 |
0.90 |
0.93 |
0.96 |
0.99 |
1.02 |
1.06 |
1.12 |
1.19 |
1.25 |
- |
- |
- |
- |
- |
- |
|
9235 |
- |
- |
- |
- |
- |
- |
- |
0.82 |
0.84 |
0.85 |
0.88 |
0.91 |
0.94 |
0.97 |
1.00 |
1.06 |
1.12 |
1.18 |
1.24 |
1.30 |
- |
- |
- |
- |
|
9245 |
- |
- |
- |
- |
- |
- |
- |
0.83 |
0.84 |
0.86 |
0.89 |
0.88 |
0.90 |
0.93 |
0.95 |
1.00 |
1.05 |
1.10 |
1.22 |
1.36 |
1.52 |
1.39 |
- |
- |
|
9255 |
- |
- |
- |
- |
- |
- |
- |
- |
- |
0.83 |
0.85 |
0.88 |
0.90 |
0.93 |
0.95 |
1.00 |
1.05 |
1.10 |
1.22 |
1.36 |
1.52 |
1.39 |
- |
- |
|
9265 |
- |
- |
- |
- |
- |
- |
- |
- |
- |
- |
- |
0.83 |
0.85 |
0.88 |
0.90 |
0.94 |
0.98 |
1.04 |
1.17 |
1.29 |
1.45 |
1.61 |
1.77 |
1.93 |
|
9275 |
- |
- |
- |
- |
- |
- |
- |
- |
- |
- |
- |
- |
0.67 |
0.71 |
0.75 |
0.82 |
0.90 |
0.98 |
1.09 |
1.21 |
1.35 |
1.50 |
1.65 |
1.79 |
注:双级参考所配低速端型号值
输入轴许用径向力Px(N)
|
机型号 |
传动比 |
输入转速(r/min) | ||||||
|
600 |
750 |
900 |
1000 |
1200 |
1500 |
1800 | ||
|
9075 |
11-43 |
70 |
70 |
70 |
70 |
70 |
70 |
70 |
|
9085 |
11-43 |
140 |
140 |
140 |
140 |
90 |
90 |
90 |
|
9095 |
6-43 |
240 |
240 |
190 |
190 |
190 |
190 |
140 |
|
9105 |
6-87 |
530 |
530 |
530 |
490 |
390 |
340 |
340 |
|
9115 |
6-17 |
780 |
780 |
780 |
680 |
680 |
580 |
580 |
|
9125 |
21-87 |
780 |
780 |
530 |
490 |
490 |
440 |
390 |
|
9135 |
6-21 |
1760 |
1660 |
1560 |
1470 |
1370 |
1170 |
1079 |
|
9145 |
25-87 |
1760 |
1470 |
1170 |
1120 |
1070 |
1030 |
930 |
|
9155 |
6-25 |
1070 |
980 |
780 |
680 |
680 |
630 |
580 |
|
29-87 |
880 |
580 |
580 |
490 |
4900 |
440 |
440 | |
|
9160 |
11-17 |
1960 |
1960 |
1960 |
1860 |
1760 |
1660 |
1610 |
|
9165 |
21-87 |
1660 |
1520 |
1270 |
1170 |
1070 |
930 |
880 |
|
9170 |
11-17 |
2640 |
2400 |
2350 |
2250 |
1960 |
1860 |
1860 |
|
9175 |
21-87 |
2450 |
2150 |
2150 |
1760 |
1760 |
1520 |
1520 |
|
9180 9185 |
11-87 |
3240 |
3280 |
2990 |
2940 |
2740 |
2550 |
2550 |
|
9190 |
11-25 |
3920 |
3920 |
3570 |
3430 |
3130 |
2940 |
2940 |
|
9195 |
29-87 |
3570 |
3230 |
3040 |
2940 |
2740 |
2450 |
2450 |
|
9205 |
11-87 |
6170 |
6220 |
6080 |
5880 |
5390 |
4900 |
5390 |
|
9215 |
11-87 |
7250 |
6810 |
6320 |
6120 |
5440 |
5090 |
5730 |
|
9225 |
11-87 |
7500 |
6960 |
6610 |
6420 |
5980 |
5780 |
6610 |
|
9235 |
11-87 |
8720 |
8970 |
9160 |
9510 |
10000 |
- |
- |
|
9245 |
11-87 |
11100 |
10500 |
10100 |
10100 |
11000 |
- |
- |
|
9255 |
11-87 |
13100 |
12200 |
11200 |
10700 |
11700 |
- |
- |
|
9265 |
11-87 |
13100 |
12200 |
11200 |
10700 |
11700 |
- |
- |
|
9270 9275 |
11-87 |
14700 |
14700 |
14700 |
14700 |
14700 |
- |
- |
注:双级参考所配高速端型号值
输入轴径向力作用位置系数Lf
注:双级参考所配高速端型号值
|
L
机型号 |
5 |
10 |
15 |
20 |
25 |
30 |
35 |
40 |
45 |
50 |
60 |
70 |
80 |
90 |
100 |
120 |
140 |
160 |
180 |
200 |
|
9075 |
0.73 |
0.91 |
1.20 |
1.60 |
2.00 |
- |
- |
- |
- |
- |
- |
- |
- |
- |
- |
- |
![]() | |||
|
9085 |
0.73 |
0.91 |
1.20 |
1.60 |
2.00 |
- |
- |
- |
- |
- |
- |
- |
- |
- |
- |
- | ||||
|
9095 |
0.88 |
0.96 |
1.20 |
1.59 |
2.00 |
2.38 |
- |
- |
- |
- |
- |
- |
- |
- |
- |
- | ||||
|
9105 |
0.91 |
0.97 |
1.20 |
1.59 |
2.00 |
2.38 |
- |
- |
- |
- |
- |
- |
- |
- |
- |
- | ||||
|
9115 9125 |
- |
0.81 |
0.93 |
1.14 |
1.41 |
1.67 |
1.96 |
2.22 |
- |
- |
- |
- |
- |
- |
- |
- | ||||
|
9130 9135 |
- |
0.78 |
0.89 |
1.00 |
1.23 |
1.45 |
1.69 |
1.92 |
2.13 |
- |
- |
- |
- |
- |
- |
- | ||||
|
9145 |
- |
0.78 |
0.89 |
1.00 |
1.23 |
1.45 |
1.69 |
1.92 |
2.13 |
- |
- |
- |
- |
- |
- |
- | ||||
|
9155 |
- |
0.78 |
0.89 |
1.00 |
1.23 |
1.45 |
1.69 |
1.92 |
2.13 |
- |
- |
- |
- |
- |
- |
- | ||||
|
9160 9165 |
- |
0.92 |
0.95 |
0.98 |
1.05 |
1.18 |
1.28 |
1.41 |
1.52 |
1.64 |
1.85 |
- |
- |
- |
- |
- | ||||
|
9170 9175 |
- |
- |
0.93 |
0.96 |
0.99 |
1.05 |
1.16 |
1.28 |
1.39 |
1.49 |
1.72 |
1.92 |
2.17 |
- |
- |
- | ||||
|
9180 9185 |
- |
- |
- |
0.93 |
0.96 |
0.99 |
1.05 |
1.16 |
1.28 |
1.39 |
1.49 |
1.72 |
1.92 |
2.17 |
- |
- | ||||
|
9190 9195 |
- |
- |
- |
0.93 |
0.95 |
0.98 |
1.00 |
1.09 |
1.16 |
1.25 |
1.41 |
1.59 |
1.75 |
1.92 |
2.08 |
- |
- |
- |
- |
- |
|
9205 |
- |
- |
- |
- |
0.93 |
0.95 |
0.97 |
1.00 |
1.04 |
1.10 |
1.22 |
1.33 |
1.45 |
1.56 |
1.68 |
1.91 |
- |
- |
- |
- |
|
9215 |
- |
- |
- |
- |
0.93 |
0.95 |
0.98 |
1.00 |
1.03 |
1.08 |
1.19 |
1.29 |
1.40 |
1.51 |
1.61 |
1.82 |
- |
- |
- |
- |
|
9225 |
- |
- |
- |
- |
0.94 |
0.96 |
0.98 |
1.00 |
1.02 |
1.04 |
1.08 |
1.14 |
1.24 |
1.33 |
1.42 |
1.60 |
- |
- |
- |
- |
|
9235 |
- |
- |
- |
- |
0.84 |
0.86 |
0.87 |
0.89 |
0.93 |
0.98 |
1.07 |
1.16 |
1.25 |
1.34 |
1.44 |
1.62 |
- |
- |
- |
- |
|
9245 |
- |
- |
- |
- |
0.91 |
0.92 |
0.94 |
0.96 |
0.98 |
0.99 |
1.07 |
1.15 |
1.24 |
1.33 |
1.42 |
1.59 |
- |
- |
- |
- |
|
9255 |
- |
- |
- |
- |
- |
- |
0.92 |
0.93 |
0.94 |
0.96 |
0.99 |
1.03 |
1.09 |
1.16 |
1.22 |
1.34 |
1.47 |
1.60 |
1.72 |
- |
|
9265 |
- |
- |
- |
- |
- |
- |
0.92 |
0.93 |
0.94 |
0.96 |
0.99 |
1.03 |
1.09 |
1.16 |
1.22 |
1.34 |
1.47 |
1.60 |
1.72 |
- |
|
9275 |
- |
- |
- |
- |
- |
- |
- |
- |
0.93 |
0.94 |
0.97 |
0.99 |
1.04 |
1.14 |
1.22 |
1.39 |
1.56 |
1.72 |
1.92 |
2.08 |
注:双级参考所配高速端型号值
九、订货须知
1、订货时请说明产品型号、输入功率、输入转速、传动比及结构安装形式。
2、订货时请按样本所列规格选用,如有特殊要求可与本厂联系。
3、当需要特殊结构安装形式及使用条件的产品经双方协商后在合同中明确说明。
4、减速机除轴端平键外不带其它附件。
5、我厂承接特殊规格减速机,并可代为设计。
6、各种带电动机型减速机,选用基本型为Y系列三相异步电动机,也可配特殊电动机,如防爆、专用直流电动机等。请订货时说明。
7、由于技术不断发展,本样本所列的各种技术数据仅供参考,设计更改恕不另行通知。
订货时请写明下列内容:
|
单位名称 |
|
代表人或联系人 |
|
电话 |
| ||||||||||||||
|
|
|
减速机在主机中的作用 |
| ||||||||||||||||
|
电动机 |
类型 |
|
安装形式 |
|
功率(千瓦) |
| |||||||||||||
|
电压(伏特) |
|
绝缘等级 |
|
防护等级 |
| ||||||||||||||
|
|
|
频率(赫兹) |
|
其它特殊要求 |
| ||||||||||||||
|
环境
条件 |
环境温度(℃) |
|
每天运转时间 |
|
环境湿度(℃) |
| |||||||||||||
|
|
|
|
|
|
| ||||||||||||||
|
减速机 |
传动比(i) |
|
输出轴转速(转/分) |
|
输入轴转速(转/分) |
| |||||||||||||
|
减速机所承受载荷转矩(牛顿·米) |
|
减速机与电动机连接方法 |
| ||||||||||||||||
|
减速机型号规格(按型号标注示例填写) |
| ||||||||||||||||||
|
|
|
希望供货时间 |
年 月 日 |
付款形式 |
| ||||||||||||||
|
备注 |
| ||||||||||||||||||
本厂拥有对本说明书的解释权,若有疑问请与本厂技术部门联系。一般每年一版,选用时请以最新版本为准。
| 页次:5/5 每页10条 共42条信息 分页:[1][2][3][4][5] |


