1前言
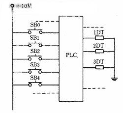
HC212ДФ1镗铣床(主轴直径220mm)是马钢机制公司90年代从俄罗斯进口的大型机床。该机床主轴调速是通过主轴箱内一套变速机构和直流调速电动机共同完成的。机械变速通过液压系统来控制,使主轴获得Ⅰ、Ⅱ、Ⅲ、Ⅳ4级转速。其控制原理如图1所示,电磁换向阀Y1和Y2分别控制变速油缸1和2,带动拨叉使滑动齿轮1和2处于不同的工作位置,使主轴得到不同的转速。其中变速油缸1有两个工作位置,油缸2有3个工作位置。

图1
2故障现象及分析
该机床一段时间来常有Ⅰ、Ⅲ转速级挂不上档的报警。打开机床主轴箱检查发现,滑动齿轮1的左端因严重撞击而使倒角处打毛翻边,以至不能在拨叉推动下与齿轮2的内齿啮合,从而出现上述故障现象。
经过细致的观察,发现滑动齿轮1的右端以及滑动齿轮2两端的倒角处并无上述现象。由此可见,滑动齿轮制造质量不是问题的关键。
问题出在何处呢?分析图1可看出,机床在Ⅰ、Ⅲ转速级是在1DT失电时实现的。如果主轴处于Ⅱ或Ⅳ档运行状态,某一外界因素致使电磁铁1DT突然失电,就会出现下列情况:1DT失电,使阀Y1切换到左位,变换油缸1带动滑动齿轮1迅速向左移动。而此时位于左端的齿轮2正处于高速运转状态,两齿轮相遇必然会发生剧烈摩擦撞击。如果这种情况存在,滑动齿轮1的左端定会受损,上述故障就会发生。
通过分析机床的电气图可知,电磁铁1DT由PLC直接控制,并且该机床的保护功能较多。在加工过程中,若出现机床其它环节的保护,PLC会封锁所有的输出点,这就给1DT的突然失电提供了机会。而在该变速系统中,Y1阀又无失电保护功能。由此推断,Y1阀意外失电,滑动齿轮1误动作是造成该故障的原因。
从现场操作情况看,机床出现该故障报警时,常伴有剧烈的撞击声,因此进一步验证了上述判断的正确性。另外,在故障处理中,还发现变速油缸1和2运动速度过快,变速冲击较大。
3系统的改造及问题的解决
为解决问题,液压系统从两方面着手:①换向阀Y1重新选型;②在系统中增加速度调节环节。改造后的原理图如图2所示。选用国产24WE6D50/CFG24型电磁换向阀Y3替换Y1。阀Y3带“记忆”功能,不因电磁铁失电而改变阀芯位置。在Y3、Y2出油口处增加了节流阀组L1、L2,使变速油缸1、2获得理想的运动速度。

图2
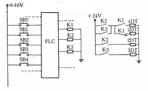
由于阀Y3带有2个电磁铁(4DT、5DT),且为“非”关系,如何从已占满的PLC输出端点中引出一控制信号来控制5DT呢(图3)?若增加一输出端点来控制5DT,势必要增加输出模块,并要修改梯形图,从而大大增加了改造费用。为此我们对PLC输出点进行了一些改动(图4),圆满地解决了PLC输出点不足的问题。把PLC原来直接推动电磁铁改为推动中间继电器K1、K2、K3,然后由K1、K2、K3来控制电磁铁4DT、5DT、2DT、3DT。通过K1的常开和常闭点,使4DT和5DT满足了“非”的关系。

图3

图4
对机床的液压和电气系统进行改造,并对滑动齿轮1左端进行倒角修理后,机床主轴变速机构恢复正常,运行平稳、可靠。
4结束语
通过对HC212ДФ1镗铣床主轴变速机构的故障诊断和系统改造。我们得到以下启发:①在一些复杂设备的故障诊断过程中,往往要对故障原因作机、电、液等方面的综合分析,才能找到问题的关键。②在作液压设计时,象Y1这样关键机构的电磁换向阀应具有“记忆”功能,才能保证设备运行的安全性和可靠性。③液压系统中,变速油缸应具有良好的速度调节功能,尽量减少变速冲击。