对于长度与直径之比(长径比)大于80的细长轴,在切削过程中由于其刚性差而极易产生弯曲和振动,难以获得良好的加工精度和表面粗糙度。且热扩散差,线膨胀大,当工件两端顶紧时受热变形影响易产生弯曲,因此,长径比大于80的细长轴是轴类零件中较难加工的零件。在实际生产中,可通过采用三支承跟刀架、弹簧顶尖、改进刀具的几何角度或采用宽刃精车刀、选择热硬性好及高耐磨的刀具材料、增设合理的辅助工具等方法达到满意的加工效果。
1细长轴加工前的准备工作
加工前应先调整机床,校直工件。
机床调整
主轴中心和尾座顶尖中心连线与导轨全长平行;主轴中心与尾座顶尖中心的同轴度公差小于0.02;大、中、小拖板的间隙合适(过松会扎刀)。
棒料校直
采用热校直法校直棒料,不宜冷校直,忌锤击。装夹时,防止预加应力产生变形,夹持方法有两种:一是在一端车出8~10mm的卡脚档;二是在卡盘爪与工件间垫入直径为f3~f5mm的钢丝(绕工件放置)或钢柱(顺工件放置),使工件与卡盘为线接触。
2切削方法
采用三支承爪的跟刀架及弹簧顶尖,切削方法有以下两种。
1) 高速切削法
常采用75°粗车刀、93°半精车和精车刀。75°粗车刀材料为YT15,YW2,刀片代号A127;93°精车刀材料为YT30、YW1,刀片代号A127。粗车切削用量:n=290~450r/min,f=0.4~0.6mm/r,ap=3~4mm;半精车切削用量:n=380~600r/min,f=0.2~0.4mm/r,ap=1.5~2.5mm;精车切削用量:n=450~600r/min,f=0.15~0.3mm/r,ap=0.5~1.5mm。
因增加了一个支承爪,在车刀切入工件后,应按上、下、外顺序调整支承爪。
2) 反向低速大进刀精车法
采用弹簧伸缩顶尖,反向切削。精车、半精车仍用高速切削法,精车用低速大走刀。采用的刀具与高速切削法相同。粗车切削用量n=230~450r/min,f=0.5~0.8mm/r,ap=3~8mm;半精车切削用量n=290~6OOr/min,f=0.3~0.6mm/r,ap=1.5~3.5mm;精车切削用量n=12~24r/min,f=10~20mm/r,ap=0.02~0.05mm。f、ap、V选取最大值的顺序依次为ap、f、V。
操作方法:靠卡盘处车出跟刀架支承档,修磨好支承爪后,在轴尾端倒角45°,以防止车削结束时刀具崩刃。支承爪的调整顺序依次是下侧、上侧、外侧。接刀应准确,在轴径接刀处要有1:10左右的锥度。逐步增加刀刃的切削力,以避免突然增加造成让刀或扎刀,产生径向误差而引起振动,或出现多边形及竹节形。
为防止工件振动,跟刀架支承爪的轴向长度选40~50mm,径向宽度为10~15mm。为便于散热和排屑,在支承爪的轴向和径向上各钻一个T形通孔,支承爪材料宜用QT60-2球墨铸铁。
3 辅助工具
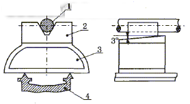
粗车时,可采用如图1所示的支架,支架由V形块和木垫块组成,木垫块压在机床导轨上。

半精车、精车时可采用如图2所示的托架,托架是在加工过程中起减振作用的主要辅具,托架由两块制有3°斜面的木质(红松)托块组成,上托块的上面制成V型托口,这可使工件与上托块在互相作用时能够形成不完全碰撞,受力时一部分功能将受到损失,以达到减小反作用力的目的。根据实践经验,V型夹角α=30°~50°为宜,辅具安放数量视工件长径比及工件长度而定,当长径比大于80、工件长大于1500mm以上时,每隔600~800mm放置一个。

4 应用效果
采用上述工艺措施后,车削最细轴(杆)f8×2000和细长轴f25×3000~5000,全长精度在IT5以上,表面粗糙度在Ra1.6以下,车削一根轴仅需15~25min。