减速机行业最权威的减速机网站! 减速机网
免费注册 | 会员登录会员中心 设为首页加入收藏联系我们
减速机网
 当前位置:减速机首页 >> 技术讲座 >>专利技术>>大极比多速异步电动机 专利
   我要成为会员
减速机网 大极比多速异步电动机 专利 减速机网
来源:减速机信息网    时间:2008-7-16 16:06:43  责任编辑:liuzhiyun  

[公开说明书]

申请号: 94210934 申请日: 1994/05/12
公开号: 公告号: 2210490
授权日: 1995-8-6 授权公告日: 1995-10-18
专利类别: 新型 国别省市代码: 36[中国|江西]
代理机构代码: 36100 代理人: 李东辉 姚伯川
发明名称: 大极比多速异步电动机
国际分类号: H02K 16/00
范畴分类号: 37A
发明人: 闵纪圣
申请人: 闵纪圣
申请人地址: 江西省九江市前进西路20号
邮编: 332005
文摘:
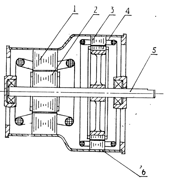
一种大极比多速异步电动机,是由机壳、转轴和彼此独立的高速定、转子和低速定、速子构成,高、低速定子并排安放在同一机壳内,高、低速转子并排安装在同一转轴上,由于大大缩短了高速定子绕组的端部,并且减小了低速定子铁芯的长度,从而有效地降低电机的激励电流,减小铁耗,节省原材料,并且大大提高了工作效率。
主权利要求:
一种由机壳(6)和转轴(5)构成的大极比多速异步电动机,其特征在于包括有彼此独立的高速定、转子和低速定、转子,分别嵌有高、低速绕组的两套定子(1、3)并排安放在同一机壳(6)内,与之相对应的高、低速转子(2、4)并排安装在同一转轴(5)上,高速定子(1)的内径较小,低速定子(3)的内径较大。
优先权项:
PCT 项
法律状态:[免责声明] 1997-7-9;因费用终止日

主附图

大极比多速异步电动机


查看评论 】【关闭窗口
减速机网   精品推荐 减速机网   减速机网   相关信息 减速机网
减速机网 网友留言 减速机网
减速机网 发表评论:  标题:    联系方式
  
 减速机网
*必须遵守《全国人大常委会关于维护互联网安全的决定》及中华人民共和国其他有关法律法规。
*不得制作、复制、发布、传播含有下列内容的信息:
   (一)反对宪法所确定的基本原则的;
   (二)危害国家安全,泄露国家秘密,颠覆国家政权,破坏国家统一的;
   (三)损害国家荣誉和利益的;
   (四)煽动民族仇恨、民族歧视,破坏民族团结的;
   (五)破坏国家宗教政策,宣扬邪教和封建迷信的;
   (六)散布谣言,扰乱社会秩序,破坏社会稳定的;
   (七)散布淫秽、色情、赌博、暴力、凶杀、恐怖或者教唆犯罪的;
   (八)侮辱或者诽谤他人,侵害他人合法权益的;
   (九)含有法律、行政法规禁止的其他内容的。
* 您发表的文章仅代表个人观点,与减速机信息网无关。
* 承担一切因您的行为而直接或间接导致的民事或刑事法律责任。
* 本站评论管理人员有权保留或删除其管辖评论中的任意内容。
* 您在本站评论板发表的作品,本站有权在网站内转载或引用。
* 参与本评论即表明您已经阅读并接受上述条款。
关于我们 - 联系方式 - 版权声明 - 本站宗旨 - 网站地图 - 广告服务 - 帮助中心 - 设为首页 - 加入收藏
全国服务热线:010-51179040 E-mail:jiansuji001@163.com
Copyright © 2008-2018 By 减速机信息网 All Rights Reserved.