减速机行业最权威的减速机网站! 减速机网
免费注册 | 会员登录会员中心 设为首页加入收藏联系我们
减速机网
 当前位置:减速机首页 >> 技术讲座 >>专利技术>>笼型异步电动机 专利
   我要成为会员
减速机网 笼型异步电动机 专利 减速机网
来源:减速机信息网    时间:2008-7-16 16:17:19  责任编辑:liuzhiyun  

[公开说明书]

申请号: 92222678 申请日: 1992/05/28
公开号: 公告号: 2121096
授权日: 1993-5-27 授权公告日: 1993-6-9
专利类别: 新型 国别省市代码: 11[中国|北京]
代理机构代码: 11107 代理人: 徐明山
发明名称: 笼型异步电动机
国际分类号: H02K 17/16
范畴分类号: 37A22H
发明人: 薛钦琳;施振平
申请人: 北京市电机总厂
申请人地址: 北京市东直门外大山子
邮编: 100015
文摘:
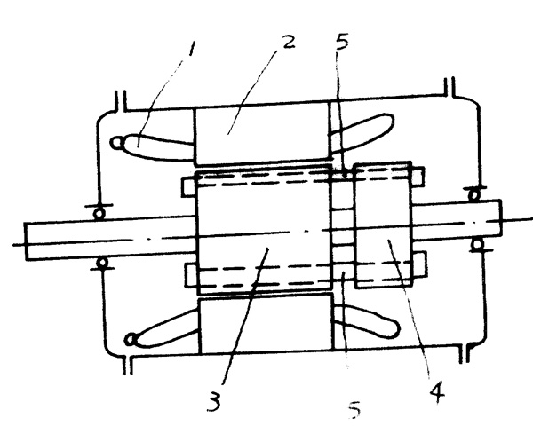
一种笼型异步电动机,具有被定子铁心包容的转子主铁心(3)和不被定子铁心所包容的转子附加铁心(4),笼条(5)贯穿于这两个转子铁心之中,因而具有与绕线式异步机相似的机械特性,起动性能好、堵转电流小、堵转转矩大、承受冲击负载能力强。实施调压调速时,节能效果优于一般笼型异步机,以变频器凋速时,电压、频率变化时的冲击电流小,故变频器的成本可以降低。若通过改变定子绕组接法实现多速运行,则无需附加装置,对风机、水泵类负载具有投资小、节能效果好的优点。
主权利要求:
一种笼型异步电动机,具有定子绕组、定子铁心、转子铁心、转子笼型绕组,其特征在于:所说转子铁心包括转子主铁心(3)和转子附加铁心(4),其中的转子主铁心(3)位于定子铁心(2)所定容的圆柱形空间之内,转子附加铁心(4)位于定子铁心(2)所包圆柱形空间之外,转子笼型绕组的笼条(5)贯穿于转子主铁心(3)和转子附加铁心(4)之中。
优先权项:
PCT 项
法律状态:[免责声明] 1996-8-21;续延日
1998-7-22;因费用终止日

主附图

笼型异步电动机


查看评论 】【关闭窗口
减速机网   精品推荐 减速机网   减速机网   相关信息 减速机网
减速机网 网友留言 减速机网
减速机网 发表评论:  标题:    联系方式
  
 减速机网
*必须遵守《全国人大常委会关于维护互联网安全的决定》及中华人民共和国其他有关法律法规。
*不得制作、复制、发布、传播含有下列内容的信息:
   (一)反对宪法所确定的基本原则的;
   (二)危害国家安全,泄露国家秘密,颠覆国家政权,破坏国家统一的;
   (三)损害国家荣誉和利益的;
   (四)煽动民族仇恨、民族歧视,破坏民族团结的;
   (五)破坏国家宗教政策,宣扬邪教和封建迷信的;
   (六)散布谣言,扰乱社会秩序,破坏社会稳定的;
   (七)散布淫秽、色情、赌博、暴力、凶杀、恐怖或者教唆犯罪的;
   (八)侮辱或者诽谤他人,侵害他人合法权益的;
   (九)含有法律、行政法规禁止的其他内容的。
* 您发表的文章仅代表个人观点,与减速机信息网无关。
* 承担一切因您的行为而直接或间接导致的民事或刑事法律责任。
* 本站评论管理人员有权保留或删除其管辖评论中的任意内容。
* 您在本站评论板发表的作品,本站有权在网站内转载或引用。
* 参与本评论即表明您已经阅读并接受上述条款。
关于我们 - 联系方式 - 版权声明 - 本站宗旨 - 网站地图 - 广告服务 - 帮助中心 - 设为首页 - 加入收藏
全国服务热线:010-51179040 E-mail:jiansuji001@163.com
Copyright © 2008-2018 By 减速机信息网 All Rights Reserved.