离合器在机器运转中可将转动系统随时分离或接合。对离合器的基本要求有:接合平稳,分离迅速而彻底;调节和修理方便;轮廓尺寸小;质量小;耐磨性好和有足够的散热能力;操作方便省力。
常用的离合器有:
1) 按操纵方式:机械式; 气动式 ; 液压式 ; 电磁式 ; 超越式 ; 离心式; 安全离合器
2) 按结合原理 : 啮合式 摩擦式
一、机械离合器
1、牙嵌式离合器——适于停车和低速(n<10r/min)时接合

图14-11 牙嵌式离合器
矩形牙——Z=3~15
梯形牙——Z=5~11 接合不太容易
三角形牙——易于接合,但承载低Z=15~60
锯齿形牙——只能单向接合Z=2~6
牙齿可布置在周向,也可布置在轴向
2、摩擦式离合器——接合平稳,适合于高速运动中接合
1)锥面摩擦离合器 在同样压紧力下有较大的摩擦力
2)多盘式摩擦离合器传动能力较大、应用较广。

图14-12 多盘式摩擦离合器
摩擦片的材料:石棉衬、夹布胶本、皮革——不需润滑
钢、青铜、粉末冶金——需要润滑
二、特殊功用离合器
1.销钉式安全离合器

图14-13 销钉式安全离合器
2.离心式离合器——转速达到一定轴时能自动接合
如图所示为.离心式离合器的工作原理在两个拉伸螺旋弹簧的弹力作用下主动部分的一对闸块与从动部分的鼓轮脱开 ,当转速达到某一数值时,离心力增加到能克服弹簧拉力时,便使闸块绕其动鼓轮压紧,当接合面上产生时,主、从动轴即所谓闭式离心离上述相反。在正常卜与鼓轮表面压紧,〔后,闸块在压缩弹亏离,从而脱开联接口源理图,在两个拉伸螺旋弹簧的弹力作用下,主动部分的一对闸块与从动部分的鼓轮脱开;当转速达到某一数值后,离心力增加到能克服弹簧拉力时,便使闸块绕其支点向外摆动与从动鼓轮压紧,离合器即进入接合状态。当接合面上产生的摩擦力矩足够大时,主、从动轴即一起转动。
所谓闭式离心离合器的工作原理与上述相反。在正常工作条件下,闸块与鼓轮表面压紧,转速超过一定数值后,闸块在压缩弹簧作用下与鼓轮脱离,从而脱开联接。

图14-14 离心式离合器
3.定向超越离合器,滚柱式超越离合器——可实现单向超越(或接合),接合比较平稳,无噪音。自行车后轮轴中有棘轮式超越离合器。

图14-15 超越离合器
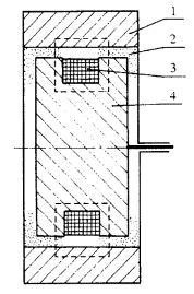
4.磁粉离合器——轴与嵌有线圈的碳铁心相联接,外壳与齿轮相联接,通电前磁粉处于自由状态,通电后,形成磁分链。

图14-16 磁粉离合器
特点:传递扭矩稳定、动作灵敏、接合方便,运行可靠,过载时打滑起安全保持作用。远距离操纵以控制方便。