减速机行业最权威的减速机网站! 减速机网
免费注册 | 会员登录会员中心 设为首页加入收藏联系我们
减速机网
 当前位置:减速机首页 >> 技术讲座 >>技术讲座>>渐开线圆柱齿轮图样上应注明的尺寸数据
   我要成为会员
减速机网 渐开线圆柱齿轮图样上应注明的尺寸数据 减速机网
来源:减速机信息网    时间:2010-4-15 16:29:00  责任编辑:jiajing  
渐开线圆柱齿轮图样上应注明的尺寸数据
本标准规定渐开线圆柱齿轮图样上应注明的尺寸数据,在特殊情况下,还应补充其它有用的或必需的数据。
本标准等效采用国际标准ISO1340-1976《圆柱齿轮—为了获得所需要的齿轮用户提供给制造厂家的数据》。
1 需要在图样上标注的一般尺寸数据
1.1    顶圆直径及其公差
1.2    分度圆直径
1.3    齿宽
1.4    孔(轴)径及其公差
1.5    定位面及其要求
1.6    齿轮表面粗糙度
2需要用表格列出的数据
  2.1法向模数
  2.2齿数
  2.3基本齿廓(符合GB 1356-78《渐开线圆柱齿轮基准齿形》时仅注明齿形角,不符合时则应以图详述其特性)
  2.4齿顶高系数
  2.5螺旋角
  2.6螺旋方向
  2.7径向变位系数
  2.8齿厚:公称值及其上、下偏差(法向齿厚公称值及其上、下偏差,或公法线平均长度及其上、下偏差,或量柱(球)测量距及其上、下偏差)
  2.9精度等级
  2.10齿轮副中心距及其极限偏差
  2.11配对齿轮的图号及其齿数
  2.12检验项目代号及其公差(或极限偏差)值
3其它
根据齿轮的具本体形状及其技术条件的要求,还应给出其它一切在齿轮加工和测量时所必需的数据。
3.1 对一带轴的小齿轮,以及轴、孔不作为定心基准的大齿轮,在切齿前作定心检查用的表面最大径向跳动量必须规定。
3.2为检验轮齿的加工精度,对某些齿轮尚需指出其它一些技术参数(如基圆直径),或其它作为检测用的尺寸参数和形位公差(如齿顶圆柱面)。
3.3当采用设计齿形、设计齿向时应以图样详述其参数。
3.4给出必要的技术要求。
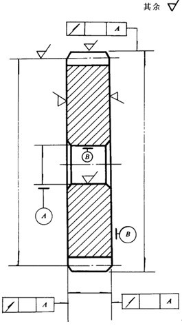
4示例
图样中的参数表一般放在图样的右上角。参数表中列出的参数项目可根据需要增减,检验项目按功能要求而定。图样中的技术要求一般放在该图的右下角,如下图所示:
 
 
 
 
 
法向模数
mn
 
齿数
 
齿形角
α
 
齿顶高系数
ha*
 
螺旋角
β
 
螺旋方向
 
径向变位系数
x
 
齿厚
 
精度等级
 
齿轮副中心距
及其极限偏差
α±fα
 
配对齿轮
图号
 
齿数
 
公差组
检验项目代号
公差(或极限偏差)值
 
 
 
 
 
 
 
 
 
技术要求
 
标题栏
 
附录A
齿厚的几种检验方法在表格中的标注示例
(参考件)
齿厚
法向齿厚公称值及其上、下偏差
 
齿厚
公法线平均长度及基上、下偏差
 
跨齿(槽)数
k
 
齿厚
量柱(球)测量距及其上、下偏差
 
量柱(球)的直径
dm
 
附加说明:
本标准由中华人民共和国机械工业部提出,由机械工业部郑州机械研究所归口。
本标准由机械工业部郑州机械研究所负责起草。
本标准主要起草人张远国、赵梅珍、谢时骅。

查看评论 】【关闭窗口
减速机网   精品推荐 减速机网   减速机网   相关信息 减速机网
减速机网 网友留言 减速机网
减速机网 发表评论:  标题:    联系方式
  
 减速机网
*必须遵守《全国人大常委会关于维护互联网安全的决定》及中华人民共和国其他有关法律法规。
*不得制作、复制、发布、传播含有下列内容的信息:
   (一)反对宪法所确定的基本原则的;
   (二)危害国家安全,泄露国家秘密,颠覆国家政权,破坏国家统一的;
   (三)损害国家荣誉和利益的;
   (四)煽动民族仇恨、民族歧视,破坏民族团结的;
   (五)破坏国家宗教政策,宣扬邪教和封建迷信的;
   (六)散布谣言,扰乱社会秩序,破坏社会稳定的;
   (七)散布淫秽、色情、赌博、暴力、凶杀、恐怖或者教唆犯罪的;
   (八)侮辱或者诽谤他人,侵害他人合法权益的;
   (九)含有法律、行政法规禁止的其他内容的。
* 您发表的文章仅代表个人观点,与减速机信息网无关。
* 承担一切因您的行为而直接或间接导致的民事或刑事法律责任。
* 本站评论管理人员有权保留或删除其管辖评论中的任意内容。
* 您在本站评论板发表的作品,本站有权在网站内转载或引用。
* 参与本评论即表明您已经阅读并接受上述条款。
关于我们 - 联系方式 - 版权声明 - 本站宗旨 - 网站地图 - 广告服务 - 帮助中心 - 设为首页 - 加入收藏
全国服务热线:010-51179040 E-mail:jiansuji001@163.com
Copyright © 2008-2018 By 减速机信息网 All Rights Reserved.