第七章 三环减速器振动与噪声控制分析研究
§7-1 引言
对三环减速器振动系统进行振动与噪声分析研究的目的,就是为了能找到其产生较大振动与噪声的原因,进而采取一定的方法来减少其振动与噪声。本章就是基于这个目的,而对减少三环减速器振动系统与噪声提出一些措施、方法。
§7-2 三环减速器振动控制技术
振动控制是指减小或消除不希望的振动现象的一些技术措施,它的目的一方面是改善人们的工作环境和生活环境,另一方面是促进国家工业化,进行经济建设的一个很重要的方面。
现有结构的三环减速器存在着非常大的振动现象,大于400mm中心距的减速器根本不能正常使用,由此,对其开展振动控制研究尤为必要。
下面,我们提出几种振动控制的方法,重点放在选择和应用上。
一、降低激励源振动水平
1、降低平面四杆机构过死点的冲击水平
在第二章中我们从理论的角度分析了三环减速器过死点位置时将存在的较大冲击现象,并且第六章中的试验也证明了这点,所以要想降低三环减速器振动水平,就必须降低其过死点位置的冲击现象。

图7-1 三环减速器内啮合齿轮副修形图
如图7-1示,三环减速器三套平面四杆机构AB1C1D-01、AB2C2D2-02、AB3C3O3及外齿轮见图中所示。在图示位置时,平面四杆机构AB1C1D处理死点位置,运动处于不确定运动状态,由于啮合力的作用将产和瞬间的冲击力。为了能除去或减少该冲击力的作用,我们在一定的角度θ内对AB1C1D上的内齿轮进行修形,使在死点位置时,平面四杆机构AB1C1D不受啮合力或少受啮合力作用,这样,通过其余两套平面四杆机构就能较易将其速成过死点位置,从而达到减不止或消除过死点的冲击。同样,对另两套平面四杆机构AB2C2D2及AB3C3O3作同样的修形。这种方法我们已正在试验过程中。
2、降低内啮合齿轮副混合激振
从第六章的试验中,我们可以看见,造成振动第一重要因素是冲击激振,第二因素就是啮合激振,有以下几个因素对啮合激振的产生有较大的影响。
(1)设计参数的影响
a.齿轮类型:斜齿轮工作时,运转较平稳,而且齿轮工作时,啮合冲击较大;
b.模数:模数增大,齿的刚度增大,变形减少,振动也随之降低;
c.压力角:压力角增大,将引起合力和垂直分力增大,加大振动;
d.齿宽:对高精度齿轮随齿宽的增加,振动下降,但对低精度齿轮影响不大;
e.齿坯形状:齿轮轮辐厚与直径之比的不同产生的振动不同;
f.齿轮外径:外径增大,则振动幅射面积增大;
g.材料:应尽量选样衰减性能好的材料;
(2)制造精度的影响
a.齿形误差的影响;
b.基节误差的影响;
c.齿面光洁度的影响;
d.接触精度的影响;
其中齿形误差的影响最大,其次是基节和齿面误差。
(3)工作参数及工作条件的影响
a.选择合适的啮合系数:一般啮合系数越大,振动冲击越小,但由于各种误差的存在,过大则会引起干涉而加大振动;
b.侧隙的选样:过小则不能保存油膜减小振动,过大则反向运转时冲击较大;
c.载荷与速度:对冲击的影响随工况不同而不同;
d.润滑:适当的润滑可以吸收齿轮的振动,但当润滑不当时,齿轮将受到冲击波激发,从而产生振动。
二、改善箱体的结构
从第二章的理论分析和第六章中的试验结果中可知,三环减速器箱体的振动y向最大,Z向次之、X向最小,根据这种试验结论,我们应该提高箱体Y向和Z向的刚度,特别是Y向的刚度。一般的齿轮传动装置的箱体仅仅注意了Z向刚度,而对三环减速器,其振动水平y向最大,所以应注意提高三环减速器y向刚度。
提高三环减速器箱体y向的刚度有两种措施:
1、改变箱体结构
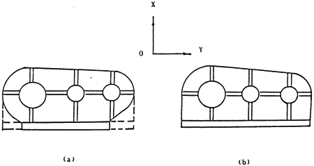
现在三环减速器箱体结构一般参照通用减速器箱体结构来设计的,如图6-4(a)(b)和图3-1示,这种结构的y向刚度较小,为了增加y向刚度,应设计成图7-2(b)示形状,显然,图7-2(b)的结构刚度比图7-2(a)结构大。

图7-2 三环减速器箱体结构
2、在箱体y向加肋板
如图7-2(a)虚线所示,在y向加肋板以增大其y向刚度。
三、箱体材料选择
选用衰减性好的材料制造箱体,以减小振动,并改变箱体的固有频率,以避开激励频率产生共振的影响。
四、箱体隔振
如图7-3示,三环减速器由于受内部激励源的激励而在y向产生较大的振动,为了减小这种振动的危害,可采取隔振措施,以减小其对基础的影响,如图7-3示,在三环减速器与基座的接触面之间增加吸振或阻尼元件,以减不止其振动对基础的影响。

图7-3
§7-2 三环减速器噪声控制技术
三环减速器由于受激励而产生振动,由于其振动而空气中产生噪声。噪声对人的危害的多方面的。它可以使人耳聋,还可能引起高血压,神经官能和心脏病等疾病;噪声污染环境,影响人们的正常工作和休息、特别强烈的噪声还能损坏建筑物,影响仪器设备正常使用。噪声已成为当代四大公害之一。故研究噪声控制技术尤为必要,也势在必行。
三环减速器由于问世仅几年,其噪声控制技术研究尚属空白。所以对其进行研究尤为必要。从前述的理论分析和第六章的试验研究中,我们可以看出三环减速器在工作时产生的噪声非常大,已经超标,为了能使其正常工作,减小噪声污染,必须进行噪声控制。
我们知道,构成声音的三要素是声源、介质和接受器,故噪声控制技术也一般从这三个方面着手,即从声源上降低噪声,在噪声传播途径上加以控制,在接受点进行防护。从声源上降噪的是最积极和最有效的方法之一,使发声体改为不发声体或发声小的物体。
下在我们简单谈谈对三环减速器噪声进行控制的几点措施:
一、从声源上降噪;
物体由于振动而产生噪声,要想降噪,就必须减少物体的振动。所以要想减小三环减速器工作时产生的较大的噪声,就必须减小其振动,关于减小其振动的措施我们已在上节中讨论过了,这里就不在重复了。
二、在传播途径上降低噪声
可半三环减速器源远离人们集中的地方,也可在声源与人之间设置隔音室、隔离罩、隔音民间障等隔离噪声向外传播。
三、在接受点进行防护
对接受噪声的个人进行防护,如佩带耳塞、耳罩、防声头盔等。
上一页
下一页